登录/注册
分享到

广汽新能源申请注册“北鼻奶茶”、“埃安有茶”等商标

2021-06-119411浏览

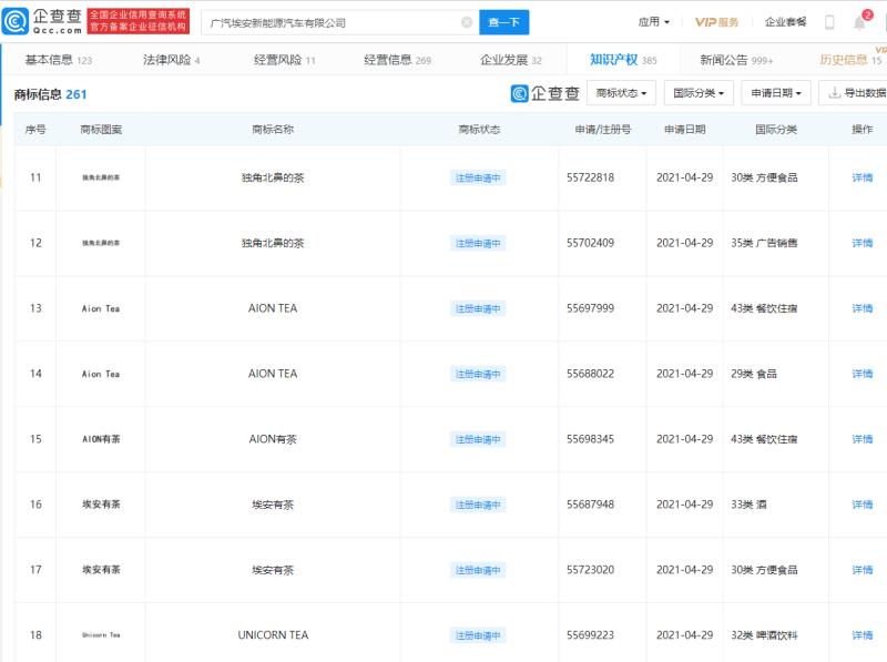
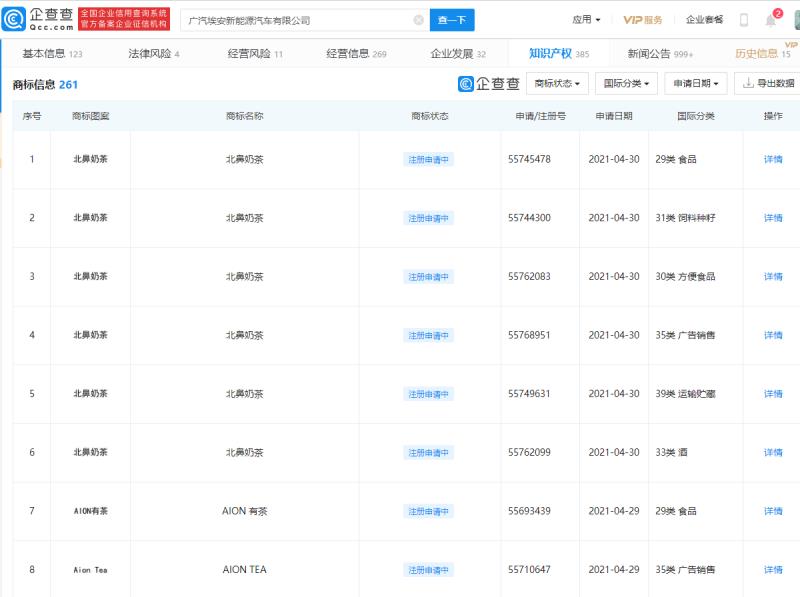
企查查APP显示,近日,广汽埃安新能源汽车有限公司申请注册“北鼻奶茶”、“埃安有茶”、“AION TEA”、“独角北鼻的茶”等商标,国际分类涉及29类 食品、33类 酒、30类 方便食品等。目前商标状态多为“注册申请中”。


你所在的频道资讯财经